Paper Octet Truss Construction

Skylight Sunshade #2.

The summer's heat was starting to build and our 6' x 8' skylights were letting the heat right into the studio. Even worse... the sunlight would track across the concrete floor heating a huge mass that would dissipate it's heat well into the mid night.

I needed something to shade the direct sunlight... something that I could construct fast, and that wouldn't cost much money!

I decided to create a version of Bucky's OCTET TRUSS that he made out of panels, instead of struts. To keep it simple and to create a nice diffuse light I made it with regular 8 1/2" x 11" copy paper.

This is an incredibly simple concept that uses just one flat pattern with two bent tabs. I was able to make all the cuts with an Exacto and glued everything together with Elmers glue.

The entire structure weighs less than 2 LBS!

6. Glue together one Right and one Left Tetrahedron to make a "Bow-Tie".

7. Glue "Bow-Ties" together to make a Row,

8. Glue Rows together to make an array.

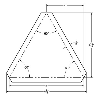
1. Print out 500 copies of this one pattern.

2. Staple groups of 12 then cut them out.

3. Bend the tabs and stack Lefts and Rights.

4. Glue three L Triangles together to make a Left Turbining Tetrahedron.

5. Glue three R Triangles together to make a Right Turbining Tetrahedron.

DOWNLOAD Triangle Pattern

INSTRUCTIONS:

Skylight Sunshade #3

This construction method works with the tabbed hexagon panel as well.

You end up with a Truncated

Octahedron

array.

Paper Truncated Octahedron Array

Custom Formed CNC Anodized Aluminum Panels

Samples of Morphed Paneled Octet Trusses.

Scale Independent!!

Aluminum Octet Truss

Thank You for visiting!